| 
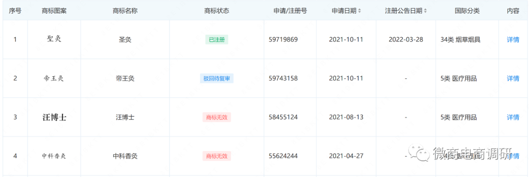
       【直报网北京2月17日讯】(微商电商调研)这几年,有关艾灸的产品如雨后春笋般地涌现。灸法养生是我们祖先传承下来的保健良方,是一种神奇的保健手段,艾灸则是用艾叶制成的艾炷、艾条为主,熏烤人体的重要穴位以达到保健的一种自然疗法。用中医的话来说,它具有温阳补虚、温通经络等作用。 现如今,利用艾灸创造一系列艾灸类的产品打造成各种爆品,销售额高的企业也不在少数,但我们注意到,有一家名叫中科香灸的公司火爆异常,宣称可以通过吸灸达到调理身体的效果,还可以戒烟。那么,中科香灸到底是何来历?通过吸灸的方式即可包治百病是否涉及虚假宣传?其公司推行的代理制度又有何特色? 公司背景品牌来历 据了解,中科香灸(重庆)健康科技有限公司是中科香灸的经营主体。据企查查显示,中科香灸(重庆)健康科技有限公司成立于2021年5月10日,法定代表人为汪传奇,注册资本为6000万元,实缴资本为74.8万元,经营范围包含食品销售,生物基材料技术研发,中草药种植及互联网销售等业务。该公司股东为重庆利莫里亚生物科技有限公司和重庆弘仕教育科技有限公司,分别持股70%和30%。 ![]() (图片来源:企查查) 据了解,重庆利莫里亚生物科技有限公司作为中科香灸的大股东,其公司成立于2012年,其法定代表人也是汪传奇,主要从事有自主知识产权的健康产品研发、生产、销售,以及新健康养生方法的推广,公司旗下除了有中科香灸,还有其他灸类产品的商标,例如圣灸、帝王灸。 ![]() (图片来源:企查查) 此外,重庆利莫里亚生物科技有限公司曾因旗下产品虚假宣传被重庆市南岸区市场监督管理局行政处罚。另外一个股东重庆弘仕教育科技有限公司也曾因为未在规定期限公示年度报告被列入经营异常名录。 ![]() (图片来源:企查查) 据悉,中科香灸的创始人为汪博士,全名为汪程远,此人头衔众多,宣称为香港理工大学药学博士、重庆工商大学副教授、天医门第15代传人、高级道医师等。 
	 旗下产品 包治百病? 据了解,中科香灸(重庆)健康科技有限公司的灸类的核心产品包括圣灸、调理灸、保养灸及保健粉四种产品。 ![]() 据企查查显示,中科香灸商标分类虽属于医疗产品,但是该商标目前状态为无效的状态。 ![]() (图片来源:企查查) 但是,中科香灸却宣传该产品医疗功能众多,包括提高免疫力、清理血液垃圾、清理肺上痰湿、抗衰老、打通微循环、防止便秘等各种功能,更有甚者还宣传吸完灸之后的灸灰功效众多,也可治病、去除血栓、美白、治疗灰指甲等功效。 ![]() 对于上述涉及到医疗作用的广告内容,我国《广告法》第十七条规定也早已明确指出:除医疗、药品、医疗器械广告外,禁止其他任何广告涉及疾病治疗功能,并不得使用医疗用语或者易使推销的商品与药品、医疗器械相混淆的用语。 除此之外,中科香灸称其产品不是保健品,也不是药品,但对健康有一定辅助作用。 ![]() 对此,我国《广告法》第十八条规定:食品宣传不得含有下列内容:表示功效、安全性的断言或者保证;涉及疾病预防、治疗功能;声称或者暗示广告商品为保障健康所必需;与药品、其他保健食品进行比较。 此外,为了证明中科香灸的产品有治病效果,在代理商的朋友圈中各种案例层出不穷。 ![]() 显而易见,这些案例的出现,还将涉及使用他人名义保证或以暗示方法使人误解其效用的行为。有业内人士指出,任何产品的广告都应当真实、合法,不得使用他人名义保证或者暗示产品功效误导消费者。凡是有明示或者暗示具有医疗作用的,夸大功能或者其他容易给消费者造成误解的,违反相关法律法规的内容,或涉嫌虚假宣传。 揭底制度有何特色? 最后,我们来了解一下中科香灸的代理制度。据经销商发来的资料显示,中科香灸代理分为会员、网点、连锁店及推广站四个级别。 第一、销售网点:达成条件是一次性会员价达成3000元,累计以会员价达成15000元。一个推广站可以激活30个网点,享受网点价格即零售价5折优惠。 第二、连锁店:达成条件是达成条件是一次性会员价达成18000元,累计以会员价达成30000元,享受连锁店价格即零售价4.5折优惠。 ![]() 第三、推广站:达成条件是一次性会员价达成105000元,累计以会员价达成180000元,享受推广站价格即零售价4.2折优惠。且成为推广站后收益众多,包括零售利润、差价、复购奖励、落地服务费、共享奖、商城落地费、月度销量奖等收益。 ![]() ![]() 此外,作为中科香灸代理还有推荐奖励即会员价与推荐者级别复购价之间的差价,还有共享奖励即推广站落地奖20%。 ![]() 最重要的是,达到推广站级别还有月度销量奖、经理奖、总监奖及董事奖,而且董事下面产生新董事,上级董事共享新董事年终分红20%。 ![]() ![]() ![]() ![]() 重点一提的是,有消费者曾在网上搜索中科香灸是否为骗局的相关问题时,得到的回答都是中科香灸为骗局。 ![]() 后 记 
	近年来,由于艾灸的准入门槛较低,滋生的行业乱象层出不穷,与艾灸产品服务相关的举报投诉屡见不鲜。虽然艾灸确实有益于身心健康,治疗相应疾病,但是吸灸的效果还尚未得到证实,消费者在选择产品时应擦亮眼睛,警惕骗局,身体出现问题时应及时去医院就医。至于中科香灸宣称吸灸可治疗疾病,涉嫌虚假宣传,能否引起相关部门的整改与重视?对此,微商电商调研将继续保持关注。 (原标题:中科香灸:宣称吸灸包治百病,多级代理模式包含多重收益?) 责任编辑:蓝莓 【特别声明:部分文字及图片来源于网络,仅供学习和交流使用,不具有任何商业用途,其目的在于传递更多的信息,并不代表本平台赞同其观点。版权归原作者所有,如涉版权或来源标注有误,请及时和我们取得联系,我们将迅速处理,谢谢!】 解读新闻热点、呈现敏感事件、更多独家分析,尽在以下微信公号,扫描二维码免费阅读。 
	  | 
    































